| 品牌 | 其他品牌 | 产地类别 | 国产 |
|---|---|---|---|
| 应用领域 | 化工,石油,地矿,电子/电池,道路/轨道/船舶 |
20A自动充电触头 AGV自动导航小车电池充电系统:有单极、双极、三级、四级,15A、20A、35A、60A、80A、100A、150A、200A、250A等多种规格型号选择,可以对锂电池、铅酸电池、镍氢电池、镍镉电池等电池充电式使用,也可以用在AGV导航运输车在线充电系统,产品广泛应用于电力、铁路、通信、物流自动化、国防、石化、冶金、煤矿等领域的充电系统




20A自动充电触头
AGV刷板刷块是目前社会的初生产物,是当下***常用的补充电源装置,在生活中到处可以见到,那么AGV刷板刷块带给人们的益处有哪些呢?
1、无论你在什么地方,你所运用的电动用具再也不担心没电了;
2、AGV刷板刷块是根据电池的充放电技术实施研发的新类型补充电源设备,可以轻松达到自动化补充电源与自动化放电功能;
3、AGV刷板刷块的结构设计合理,技术齐全,运用格外方便;
4、由于运用地点多,具有很好的方便性。
为取得良好效果,必须保证自动引导小车(以下简称AGV)的高利用率。因此,AGV驱动电池和电池充电就成为一个问题。随着大功率电池的发展,现在能够允许电池在几秒钟内进行快速充电。这一技术使得AGV在生产中不用移出生产线就可以完成充电。电池充电装置可以安装在整个生产过程系统中允许AGV停止的任意地方(比如分段运输区、转向区、装载停止区等)。注意标识应当尽可能的与已有的布局形成一体。

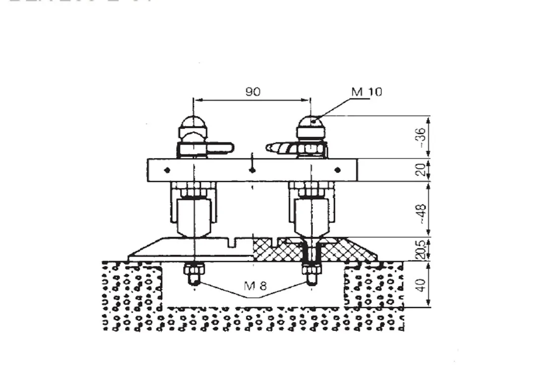
电池充电装置由刷板和刷块组成,刷板安装在地面上,或者可以用支架侧装在AGV运行轨道的旁边,刷块则安装在车辆上。工厂电源给刷板提供动力,一旦AGV行驶到充电位,并且刷块和刷板接触,就会对AGV进行充电。刷板上的滑入/滑出斜面能够帮助刷块平稳的驶入或驶出,安装在刷块上的毛刷可以扫除刷板上的残留物腾为电池充电装置工作电压为12-80V,当额定电压大于25VAC 或者60VDC时必须加装保护装置以避免意外触碰。
AGV作为运输车辆或者移动组装平台,它们将组装线上各个组装 区连接起来,AGV也可作为仓储、内部物流的运输车辆、或者是起升设备。

AGV多种应用领域不仅对车辆本身、对其电池充电装置也提出了更高的要求。
使用环境条件,常规件通用参数
储存环境温度:-25℃~+60℃。
工作环境温度:-10℃~+40℃。
大气压力:86kPa~106kPa。
相对湿度:5%~95%
刷板刷块均采用进口UPE原料、T2紫铜
UPE即超高分子量聚乙烯,是综合性能较好的工程塑料,其耐磨、抗冲击、耐腐蚀、自润滑、吸收冲击能力五个性能是现有塑料中较好的。
耐磨性居塑料前列,是普通碳钢的8倍。
冲击强度列塑料*列。
自润滑性能相当于聚四氟乙烯。
耐腐蚀性能强,化学技术性能高。
不粘性好,制品表面与其它材料不易相附。
卫生无毒,抗极低温(零下196度
UPE性能稳定,还拥有良好的抗老化性及电绝缘性能,机械强度高,使用寿命长
T2紫铜(铜银合金)高纯度,组织细密,含氧量低
导电性能佳,具有良好的热电道性。
防蚀性及耐候性。
T系列产品铜件表面均做防氧化处理
全系列产品可以根据客户要求或图纸进行定制!











- 上一篇:15A自动充电装置
- 下一篇:10/15/20A自动充电装置 紫铜电刷


您的位置:
QQ交谈
手机(微信同号)